

About Zalm
Zalm is the result of years of thoughtful development, creative innovation, and precise engineering—bringing an entirely new concept to life.
Designed and developed by Zalm Group LLC


Innovative Design
Zalm was developed to deliver a unique sensory experience through precision engineering and thoughtful design. Every element has been carefully developed to ensure functionality, reliability, and ease of use.


​Patent Protected Technology
Zalm is protected by intellectual property currently under review.
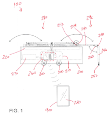
U.S. Patent Application
US Patent #2025/025058
The Zalm name is also currently under trademark registration.
​


Prototype Development
Three fully functioning prototypes of Zalm have been developed in collaboration with Innovative Design Products (IDP). These prototypes are currently being used to refine the final design and prepare for production.


Production & Manufacturing
Manufacturing plans are currently being finalized. Once funding is secured through Kickstarter, production is expected to begin within approximately 6–9 months.

Step 1
Position the Device
Gently place Zalm on your Back or chest--where tension builds and relaxation is hardest to reach
Step 2
Activate
Power on Zalm and select your speed. Its rotating arms begin delivering a smooth, continuous motion that creates Knismesis sensation across the skin.
Step 3
Experience
As Zalm moves, it creates a steady flow of Knismesis across your skin--subtle, consistent, and deeply soothing. This light touch engages your body's natural relaxation response, helping release tension and quiet the mind.
How Zalm Works
Zalm is built to be simple, intuitive, and effective—designed so you can effortlessly experience what it’s meant to do, without overthinking the process.
The Story
Zalm was born not out of business, but out of healing. After a long journey through recovery, I reconnected with something simple—but powerful: the comforting sensation of that Knismesis touch. A feeling I remembered from childhood. From my mom. From my wife. A pure moment of peace in a world that never slows down.
That gentle touch has a name: KNISMESIS
It’s not a massage. Not pressure.
It’s a soft, almost electric tickle that relaxes your nervous system, quiets the mind, and reminds you—you’re safe.
Zalm is the world’s first wireless device designed to recreate that feeling on demand.
Six speed settings. Multiple attachments. One mission:
To bring people back to their happy place, no matter what life throws at them.
Whether you’re chasing dreams, battling burnout, or just need to breathe—Zalm is here to help you find your calm.
Because for me, this isn’t just a product.
It’s my purpose.
It’s clarity.
​
Keep Zalm Carry On
-DGA
​
​
​

What is Knismesis?
Knismesis is a scientific Term for a very specific sensation: A light, gentle, almost electric touch that moves across your skin.
​
​Zalm=Knismesis On Demand.
​
Unlike deep pressure or massage, it works through subtle, continuous stimulation of your skin’s most sensitive nerve endings.


Help Bring Zalm to Life
Zalm has evolved from an idea into working prototypes and is now on the path to production. With your support, the next step—manufacturing and bringing Zalm to the world—becomes real.
Final Engineering
Refining the design and preparing the product for large-scale manufacturing.
Manufacturing & Tooling
Producing the first official production run of Zalm.
Launch & Distribution
Delivering the product to supporters and introducing Knismesis to the market.

